2016.08.03
-정밀 AC/DC 성능-8채널/4채널 동시 샘플링-채널당 최대 256kSPS의 ADC 출력 데이터레이트-108dB 동적 범위 모드-최대 110.8kHz의 입력 대역폭(?3dB 대역폭)-총 고조파 왜곡(THD) ?120dB(typ.)-±2ppm의 풀스케일 범위(FSR) INL(integral non-linearity), ±50μV의 오프셋 오차, ±30ppm 이득 오차AD7768 제품은 현재 샘플 신청이 가능하고 양산 물량 공급도 가능합니다.
2016.06.30
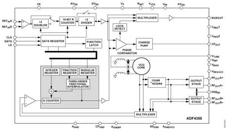
ADF4355를 외부 루프 필터(external loop filter) 및 외부 기준 주파수(external reference frequency)와 함께 사용시 분주형-N 또는 정수형-N PLL 주파수 합성기의 구현이 가능해집니다. 주파수 분주기(frequency dividers) 제품군을 사용하면 54MHz~6800MHz 범위에서 작동 가능합니다.
HMC703 분주형 합성기는 HMC704에도 포함된 고성능 PLL 플랫폼 상에 구현되었으며, ADI의 최신 PLL/VCO 제품군입니다. 이 플랫폼은 업계 최고 수준의 위상 잡음 및 스퓨리어스 성능을 보유해 보다 고차의 변조 방식이 가능한 동시에, 고성능 무선(radios)에서 차단 효과(blocker effect)도 최소화할 수 있습니다.
2016.05.31
LFCSP 표면실장형 패키지로 제공되는 범용, 광대역, 무반사, 단극, 쌍투의 스위치-9kHz~13.0GHz의 범위를 처리-높은 절연성과 낮은 삽입 손실 성능 제공-최대 8.0GHz에서 >48dB의 절연성 및 0.68dB의 삽입 손실-최종 RFOUT의 0.05dB 마진에서의 7.5μs의 정착 시간
CMOS, 저드롭아웃 선형 레귤레이터-1.6V~3.6V 범위에서 동작,최대 1.2A의 출력 전류 제공합니다.-VIN/VOUT LDOs는 2.5V에서 1.8V로 낮아지는 I/O 레일에서 동작-핵심 전압을 0.75V까지 낮추어 구동시키는 나노미터 FPGA 기하학 구조 제어에 적합